Article
Author(s):

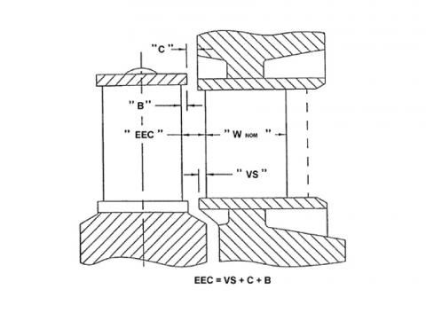
EEC is the axial distance between the vane exit edge and rotating blade inlet edge in each stage (Figure 1). EEC is an important factor that affects stage performance (both efficiency and reliability). The required EEC for optimal performance is dependent on whether or not the stage has effective tip and root seals.
For a stage without effective seals, steam leakages beyond the rotating blades are a decisive factor of performance. Tests of a stage with 35 mm long blades showed that an increase in EEC from 0.8 mm to 2.5 mm resulted in an efficiency drop by more than 5 percent. For this reason, up to the 1970’s, most turbine stages had small EEC. A small EEC can be achieved only with a minimal vane setback (“vs” = .010-.030”).
The main benefits of small EEC on a stage without effective tip and root seals are summarized as follows:

The major drawbacks are as follows:
The high velocity steam flow, in conjunction with limited axial spacing between the vanes and blades, can cause severe vane damage (Figure 2), reducing reliability and efficiency.
For a stage with effective tip and root seals, leakage from the main steam path is kept to a minimum, allowing the EEC to be increased. With a higher EEC, steam flow becomes more laminar along the pitches and blade length because irregularities in the steam flow (eddies, wakes, etc.) have more axial space to diminish. This produces the following benefits:

In summary, the magnitude of EEC required for optimal performance is dependent upon the use of tip and root seals. For stages with no effective tip and root seals (most vintage turbines), it is beneficial to maintain a smaller EEC for the best performance, at the cost of reliability. For stages with effective tip and root seals (used on most modern turbines), EEC does not have to be used as a method to minimize steam leakage. The designer is able to increase the EEC, thereby reducing turbulent flow and excitation forces (Figure 3).
Contoured end wall in HP nozzle rings and diaphragms
Optimal tangential lean of vanes
Past and current steam turbine airfoils
Power your knowledge with the latest in turbine technology, engineering advances, and energy solutions—subscribe to Turbomachinery International today.